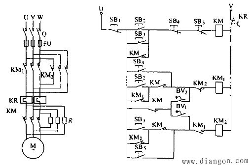
下面通过一个实例介绍电气控制线路的一般设计方法。拟设计某机床主电动机控制线路。要求:1)可正反转;2)双向点动控制13)双向反接制4)有短路和过载保护。 1.电路设计 (1)主电路设计 点动时要频繁起动,定子回路应串入限流电阻,反接制动时为减少制动电流,定子回路也应串入限流电阻。而在正常正反转运转时,应旁路限流电阻。故主电路应具有正反转选择和是否串入限流电阻选择功能、如图1所示,正常正反转运转时,KM主触点应闭合;点动或制动时,KM主触点应断开。
 图1 车床电气原理图 (2)控制电路设计
 图2 点动控制线路 图3 正反向及制动控制线路 1)点动控制 点动时定子回路应串入限流电阻,按下按钮SB4,接触器KM1得电吸台。它的主触点闭合,KM 4不得电,电动机的定子绕组经限流电阻R和电源接通.电动机在较低速度下正向起动。松开按钮SB4,KMl断电,电动机停止转动。在点动过程中.继电器KM线圈不通电,KMl线圈不会自锁。反方向时类同。见图2。 2)主轴电动机的反接制动控制 反接制动时定子回路也应串人限流电阻。速度继电器与被控电动机是同轴联结的,当电动机正转时.速度继电器正转动合触点KSl闭合;电动机反转时,速度继电器的反转动合触点KS2闭合。当电动机正向旋转时,接触器KMl和KM都处于得电动作状态,速度继电器正转动合触点KS1闭合,这样就为电动机正转时的反接制动做好了准备。当要停车制动时,按下制动按钮SBI,各接触器都失电;松开按钮SB1,经正转动合触点KSl接通反转接触器KM2。当电动机的转速下降到速度继电器的复位转速时,速度继电器KSl动合触点断开,切断了接触器KM2线圈的通电回路,电动机停止。电动机反转时的制动与正转时的制动相似,见图3。 3)主电动机的正反转控制电路 主电动机正转由正向起动按钮SB2控制,按下按钮SB2时,接触器KM首先得电动作,它的主触点闭合将限流电阻短接。接触器KM的辅助触点闭合使接触器KM1得电吸合,电动机在满电压下正向起动。(http://www.gdzrlj.com/版权所有)反向时按下起动按钮SB3,KM 2的主触点将三相电源反接,电动机在满电压下反向起动。KMl和KM2的动断触点分别串在对方接触器线圈的回路中,起到了电动机正转与反转的电气互锁作用。 4)电动机过载及联锁保护环节 完成各控制功能后还应考虑电动机正反向控制的互锁,电动机过载保护、短路保护等。 2.线路的完善和校验 控制线路初步设计完后,可能还有冲突和不合理的地方、需进一步校验,并简化线路。
|